OAtekno.com – Oppo baru-baru ini mengungkapkan paten baru untuk gelang pengukur tekanan darah. Menurut ringkasan paten, perangkat pengukur tekanan darah terdiri dari badan utama dan dua tali.
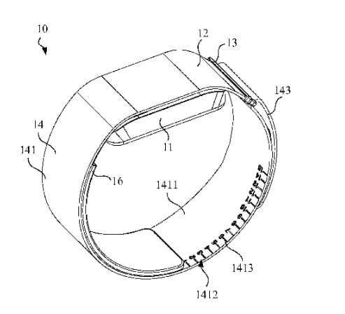
Kedua tali terhubung dengan badan utama, memungkinkan pengguna untuk mengenakan perangkat di bagian tubuh yang sesuai untuk pengukuran tekanan darah. Tali kedua dilengkapi dengan setidaknya dua area identifikasi pada permukaan dalam dan/atau sampingnya.
Area identifikasi ini membantu menentukan ukuran kantong udara yang cocok untuk pengguna, berdasarkan hubungan antara lokasi tertentu pada kedua tali dan area identifikasi yang sesuai. Salah satu fitur utama dari perangkat pengukur tekanan darah ini adalah kemampuannya untuk mengukur lingkar pergelangan tangan tanpa perlu peralatan tambahan.
Ini membuatnya menjadi alat yang sangat nyaman bagi pengguna yang ingin memantau tekanan darah mereka secara teratur. Gambar paten juga memberikan gambaran tentang perangkat Oppo.
Baca juga: OPPO A55 dan A55s Dapat Pembaruan ColorOS 13!
Seperti yang dapat Anda lihat, tidak ada layar besar yang termasuk dalam paten. Ini menciptakan kesan bahwa perangkat mungkin hanya untuk tujuan pengukuran kesehatan dan mungkin tidak memiliki fungsionalitas seperti smartwatch standar. Namun, masih terlalu dini untuk mengatakan sesuatu dengan pasti. Mungkin Oppo akan menyempurnakan teknologi ini dan mengintegrasikannya ke dalam lebih banyak perangkat di masa depan.





